AndroidPortal.skAndroidPortal.skAndroidPortal.sk
Notification Show More
Font ResizerAa
  • Novinky
  • Aplikácie
  • Hry
  • Recenzie
  • Zariadenia
Font ResizerAa
AndroidPortal.skAndroidPortal.sk
Hľadať
  • Domov
  • Aplikácie
  • Hry
  • Recenzie
  • Zariadenia
Follow US
NovinkySamsungSmartphonyVýrobcoviaVýrobcoviaZariadeniaZariadenia

Samsung požiadal o nový patent: Smartfón, ktorý sa dá prehnúť na polovicu

Kórejský patentový úrad obdržal novú žiadosť o pridelenie patentu. Táto žiadosť nepochádza od nikoho iného, než od samotného Samsungu.

Lukáš Zachar
11. novembra 2016 07:49
Lukáš Zachar
Zdieľať
Zdieľať

Kórejský patentový úrad obdržal novú žiadosť o pridelenie patentu. Táto žiadosť nepochádza od nikoho iného, než od samotného Samsungu.

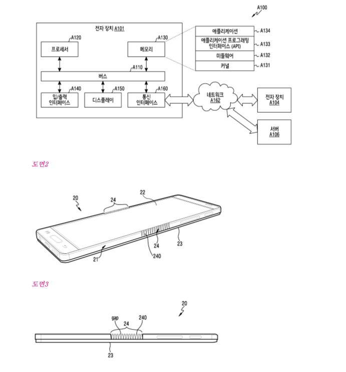
Spoločnosť si chce patentovať smartfón, ktorý by svojimi vlastnosťami mierne pripomínal vyklápačku. Dal by sa totiž zohnúť na polovicu, pričom pri zatvorení by sa vnútorný displej vypol a naopak, vonkajší zapol.

Obrázok nám veľmi pripomína zariadenie Youm v reklame z roku 2013. Okrem toho, podobnú technológiu už ukázal aj v roku 2011. Za sebou tak má roky a roky výskumu a testovania.

Pozrite si obrázky nižšie, vyzerá to skutočne zaujímavo. Čo na to ale hovoríte? Mali by ste záujem o takýto smartfón?


Štítky:ohybny displejsamsungyoum
Zdieľať tento článok
Facebook Copy Link Print
ByLukáš Zachar
Follow:
Lukáš je zakladateľ a šéfredaktor AndroidPortal.sk, ktorý miluje mobilné a desktopové technológie. K Androidu sa dopracoval hneď po tom, ako si kúpil HTC HD2, do ktorého si ihneď nahral vtedy najnovší Android 2.3 Gingerbread. Okrem iného sa rád stará o AndroidPortal.sk po technickej, no hlavne po obsahovej stránke. Kontaktovať ho môžete aj pomocou Google+

Najčítanejšie

Xiaomi otvorilo Android 17 Developer Preview pre tri modely

Lukáš Zachar
1 Min Read

EÚ chystá povinné obmedzenia pre čínske technológie v infraštruktúre

Lukáš Zachar
3 Min Read

iPhone 20 má vyzerať ako telefón bez rámčekov vďaka optike

Lukáš Zachar
2 Min Read

Voyo maximum pridáva desať nových TV staníc bez príplatku

Lukáš Zachar
3 Min Read

Môže sa vám páčiť

Novinky

Apple nestíha vyrábať Macy a dodacie lehoty sa predlžujú

3 Min Read
Novinky

Samsung Galaxy S27 Ultra môže dostať vodorovný modul fotoaparátov

2 Min Read
Novinky

QR platby v obchodoch fungujú od mája: ako zaplatiť

2 Min Read
Novinky

O2 prevzalo kontrolu nad UPC a sľubuje zachovanie služieb

2 Min Read

Spojte sa s nami

Facebook-f Instagram Youtube Rss

Tiež v našom portfóliu

AndroidPortal.sk
AndroidPortal.sk

© 2025 BYTE Media s.r.o. Všetky práva vyhradené.

Welcome Back!

Sign in to your account

Username or Email Address
Password

Lost your password?